Ϋ·»Êл·¾³¿ÆÑ§Ñо¿Éè¼ÆÔºÓÐÏÞ¹«Ë¾»¶ÓÄú£¡
“»·ÆÀÊÖÐø” °ìÀíÁ÷³Ìͼ£¨°ìÊÂÖ¸ÄÏ£©

¸½£º½¨ÉèÏîÄ¿»·¾³Ó°ÏìÆÀ¼Û¹¤×÷³ÌÐòͼ
¡¶½¨ÉèÏîÄ¿»·¾³Ó°ÏìÆÀ¼Û¼¼Êõµ¼Ôò ×ܸ١·HJ2.1-2016´úÌæHJ2.1-2011

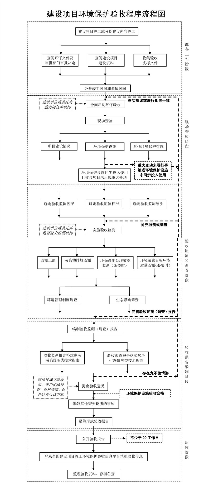
¸½£º¿¢¹¤»·±£ÑéÊÕ¹¤×÷Á÷³Ìͼ

×¢£ºÉÏͼÀ´Ô´Îª±±¾©ÊÐÉú̬»·¾³¾ÖÍøÕ¾£º¡¶½¨É赥λ¿ªÕ¹×ÔÖ÷»·¾³±£»¤ÑéÊÕÖ¸ÄÏ¡·http://sthjj.beijing.gov.cn/bjhrb/index/xxgk69/zfxxgk43/fdzdgknr2/qtwj30/10890818/index.html
¡¾¸½¼þÏÂÔØµØÖ·¡¿£º